Клапан обратный подъемный, предназначен для автоматического предотвращения обратного потока рабочей среды в системах трубопроводов, а также для установки в узлах учета потребления холодной и горячей воды с целью защиты от поломок водомерных счетчиков при аварийном отключении и подаче воды в систему. Материал: латунь ЛЦ 40С или ЛЦ40Сд. Герметичность затвора - «А» по ГОСТ 9544-2015.
| Параметр | DN15 | DN20/15 | DN25 | ||||
|---|---|---|---|---|---|---|---|
| Артикул | ZW20026 | ZW20027 | ZW20028 | ||||
| Диаметры: - номинальный, мм - эффективный, мм |
15 15 |
20 15 |
25 25 |
||||
| Рабочее давление клапана, МПа, не более | 1.6 | ||||||
| Минимальный перепад давления открытия клапана, кПа | 50 | 70 | |||||
| Масса, кг, не более | 0.165 | 0.215 | 0.380 | ||||
| Температура рабочей среды, t °С | до +70 | ||||||
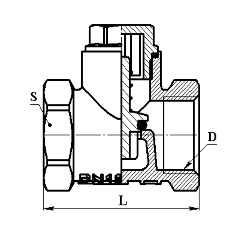
| Строительная длина, L, мм, не более | 46 | 54 | 69 | ||||