Клапаны пожарного крана предназначены для применения в пожарных кранах, устанавливаемых в системе внутреннего противопожарного водопровода зданий и сооружений. Клапан может так же применяться в качестве запорного устройства для воды в составе технологических трубопроводов. Конструкция клапанов обеспечивает присоединение соединительных головок типа ГМ-50(51), ГЦ-50(51), ГМ-65(70) по СТБ 11.13.18.
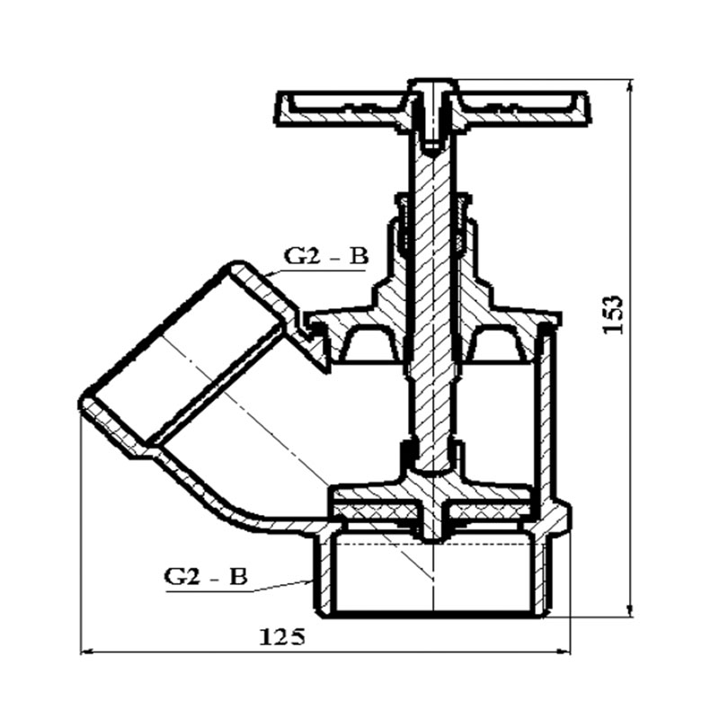
| Параметр | ПК50, ц(исп.01) | ||
|---|---|---|---|
| Артикул | ZW80008 | ||
| Диаметр номинальный, мм | 50 | ||
| Номинальное давление, PN, МПа | 1.6 | ||
| Резьба присоединительная, D, дюйм | G2-B | ||
| Температура рабочей среды, t °С | от 5 до 60 | ||
| Масса, кг, не более | 1.300 | ||
| Строительная длина, L / H, мм, не более | 125/153 | ||