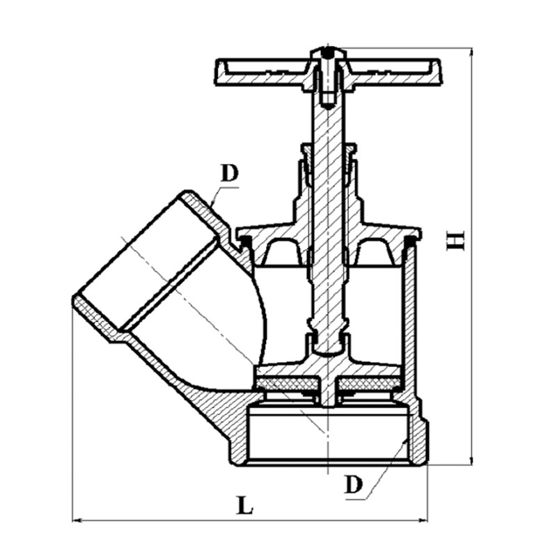
Клапаны пожарного крана предназначены для применения в пожарных кранах, устанавливаемых в системе внутреннего противопожарного водопровода зданий и сооружений. Клапан может так же применяться в качестве запорного устройства для воды в составе технологических трубопроводов. Конструкция клапанов обеспечивает присоединение соединительных головок типа ГМ-50(51), ГЦ-50(51), ГМ-65(70) по СТБ 11.13.18.
| Параметр | ПК50, м-ц(исп.01) | ПК65, м-ц(исп.01) | |
|---|---|---|---|
| Артикул | ZW80005 | ZW80009 | |
| Диаметр номинальный, мм | 50 | 65 | |
| Номинальное давление, PN, МПа | 1.6 | ||
| Резьба присоединительная, D, дюйм | G2-B | G2.1/2-B | |
| Температура рабочей среды, t °С | от 5 до 60 | ||
| Масса, кг, не более | 1.300 | 1.700 | |
| Строительная длина, L / H, мм, не более | 130/154 | 145/155 | |