Подписывайся:

Клапан пожарного крана DN50

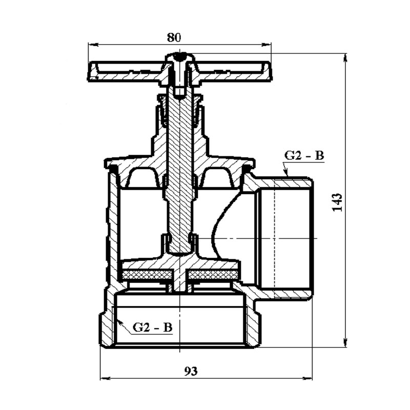
Клапаны пожарного крана предназначены для применения в пожарных кранах, устанавливаемых в системе внутреннего противопожарного водопровода зданий и сооружений. Клапан может так же применяться в качестве запорного устройства для воды в составе технологических трубопроводов. Конструкция клапанов обеспечивает присоединение соединительных головок типа ГМ-50(51), ГЦ-50(51), ГМ-65(70) по СТБ 11.13.18.

Технические характеристики

Параметр ПК50, м-ц
Артикул ZW80002
Диаметр номинальный, мм 50
Номинальное давление, PN, МПа 1.6
Резьба присоединительная, D, дюйм G2-B
Температура рабочей среды, t °С от 5 до 60
Масса, кг, не более 1.150
Строительная длина, L / H, мм, не более 93/143