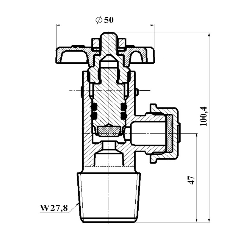
Вентиль баллона предназначен для установки на баллонах для сжиженных углеводородных газов и является их запорным устройством. Рабочая среда – газ углеводородный сжиженный топливный для коммунально-бытового потребления по ГОСТ 20448-90. Давление испытательное - 2,5 МПа.
| Параметр | Значение | |
|---|---|---|
| Артикул | ZW70002 | ZW70001 |
| Давление на выходе, МПа | не более 1.6 | |
| Рабочая среда | газ | |
| Массовый расход газа при давлении на вентиле 1МПа, кг/мин не менее | 12.8 | |
| Масса, кг, не более | 0.320 | 0.330 |
| Температура рабочей среды, t °С | от -40 до +45 | |
| Длина резьбы (W27,8), мм. L, не менее | 26 | 35 |
| Средний срок службы, лет | 12 | |